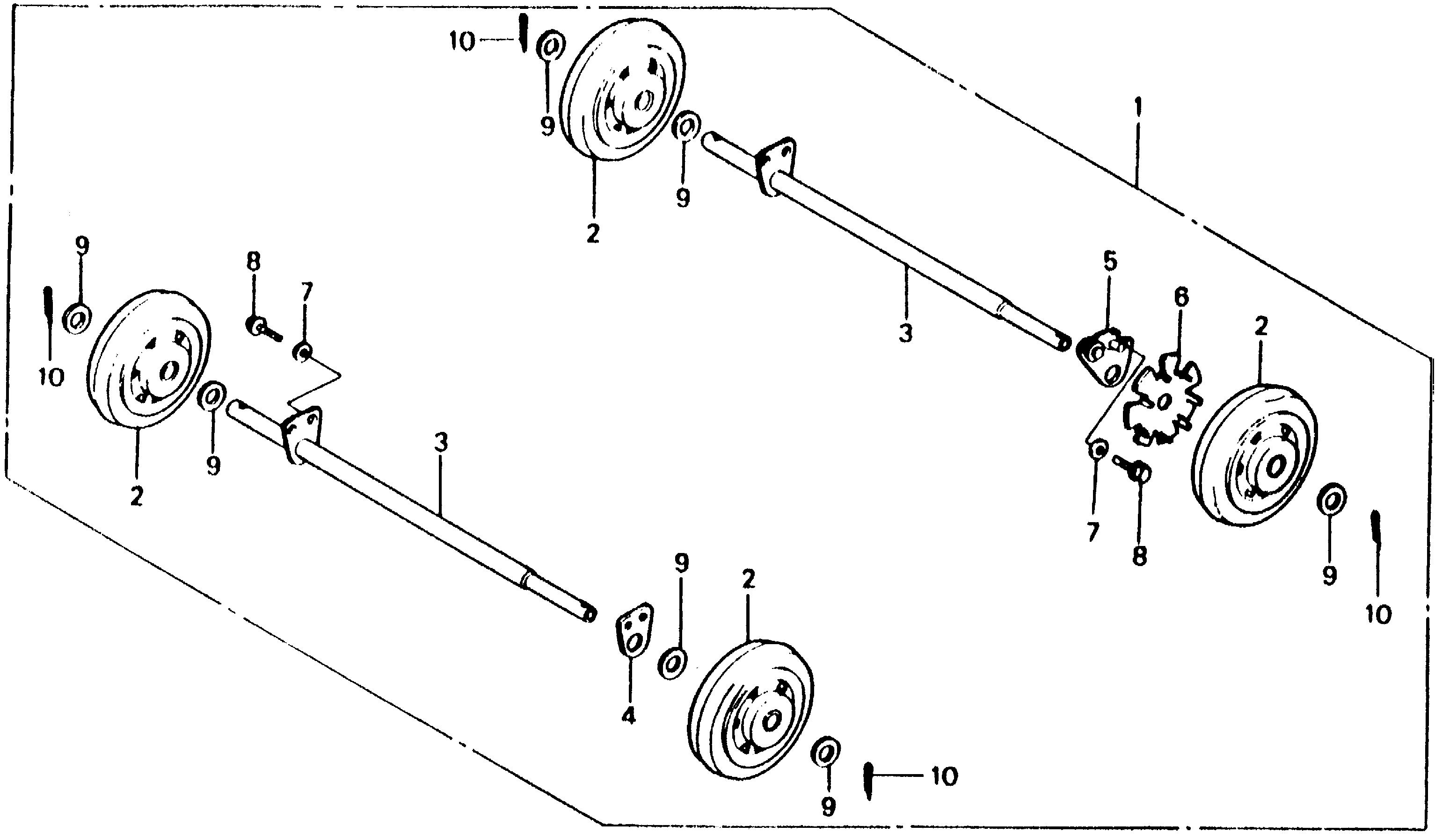
Generators E E2500 E2500K4 A E2500-2100006-9999999 WHEEL - Bland's Lawn & Garden Equip.

Ref No
Part Number
Description
Serial Range
Qty
Price

Ref No
1
Part Number
06710-877-000
Description
WHEEL KIT (NOT AVAILABLE)
Serial Range
1000001 - 9999999

Ref No
2
Part Number
42710-862-010
Description
WHEEL
Serial Range
1000001 - 9999999

Ref No
3
Part Number
42730-877-000
Description
SHAFT, WHEEL
Serial Range
1000001 - 9999999

Ref No
4
Part Number
42731-876-000
Description
PLATE, SETTING
Serial Range
1000001 - 9999999

Ref No
5
Part Number
42740-876-000
Description
STAY, STOPPER
Serial Range
1000001 - 9999999

Ref No
6
Part Number
42753-880-810
Description
PLATE, LOCK
Serial Range
1000001 - 9999999

Ref No
7
Part Number
90501-876-000
Description
WASHER (8MM)
Serial Range
1000001 - 9999999

Ref No
8
Part Number
93492-08025-08
Description
BOLT-WASHER (8X25) (NOT AVAILABLE)
Serial Range
1000001 - 9999999

Ref No
9
Part Number
94102-20000
Description
WASHER, PLAIN (20MM)
Serial Range
1000001 - 9999999
Qty
Price
$1.32

Ref No
10
Part Number
94201-40280
Description
PIN, SPLIT (4.0X28)
Serial Range
1000001 - 9999999
Qty
Price
$1.32

Ref No
10
Part Number
94201-40300
Description
PIN, SPLIT (4.0X30)
Serial Range
1000001 - 9999999
Qty
Price
$1.32